• 疫情小卫士图(疫情小卫士手抄报图片)

    防控疫情宣传海报-幼儿园画抗击疫情的手抄报幼儿园手抄报〖壹〗、抗击疫情的手抄报如下:第一张:第二张:抗击疫情手抄报文字如下:一场疫情,让我们明白:人生来来往往,并无来日方长,生命脆弱短暂,必须懂得珍惜。趁现在还活着,想做的事,别拖延,想见...

    2026-03-16
    48
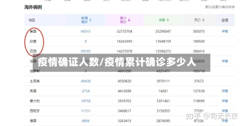
  • 疫情确证人数/疫情累计确诊多少人

    支付宝怎么查询全国现有确诊人数在支付宝中查询全国现有确诊人数,可按以下步骤操作:打开支付宝并进入【市民中心】打开支付宝应用,在首页找到并点击【市民中心】功能入口。注:若首页未直接显示【市民中心】,可通过顶部搜索栏输入关键词快速定位。进入【...

    2026-03-16
    51
  • 楼市下跌要靠疫情(房价下跌是必然)

    2020年的楼市走势如何?疫情过后是否会大跌?〖壹〗、020年楼市整体不会大跌,疫情后核心城市房价长期看缓慢上涨,但不同城市会出现分化。具体分析如下:2020年楼市整体走势整体不会大跌:新冠疫情虽利空楼市,但只是个别城市有波动,2020年...

    2026-03-16
    48
  • 疫情环境学/疫情环境设计

    ⑩环境伦理学简述〖壹〗、环境伦理学是一门探讨人类与自然环境之间道德关系的学科,旨在扩展传统伦理学的道德关怀范围,将动物、生命乃至整个生态系统纳入道德考虑,并反思人类中心主义的局限性,强调人与自然的和谐共生。具体阐述如下:环境伦理学的兴起背...

    2026-03-16
    47
  • 不停学战疫情/抗击疫情停学不停课

    关于停课不停学作文范文5篇停课不停学作文1由于“新型冠状病毒”事件以武汉为发源地,正逢春节放假期间,人流量大撒流向全国各地,致使疫情在不断扩散。这也阻挡了我们通往“知识学府”的道路,可莘莘学子怎么会因此而真正断绝对知识的渴望与需求呢...

    2026-03-16
    48
  • 【香港的酒店疫情,香港的酒店疫情怎么样】

    香港疫情酒店政策-终于有书面通知了〖壹〗、监督机制:卫生署及警方联合巡查酒店执行情况,违规者比较高罚款5万港元或监禁6个月。动态调整:政策根据疫情数据每周评估,近期因Omicron变异株传播,隔离期从7天延长至10天(后因医疗资源压力回调...

    2026-03-16
    46
  • 疫情寻人启事(最新疫情寻人启事)

    全国找人,快速找回失踪人〖壹〗、实际操作分为两种情况:公共安全场景:如警方通过公安云平台调取全国人脸数据进行比对,曾在黄金周期间快速定位景区走失儿童,2023年数据显示该系统找回失踪人员成功率超72%。民用领域:普通人想通过商业平台找...

    2026-03-16
    47
  • 气温升高疫情病毒/气温升高疫情病毒会怎么样

    最新危重症病毒??来袭远离变异毒蚊子??疫情背景与传播途径疫情来源:此次顺德疫情由境外输入引发,全球气候变化导致病媒生物(如携带基孔肯雅病毒的蚊子)繁殖活跃,分布范围扩大。气温升高和降水模式改变使蚊子进入高海拔地区,繁殖率提升,增加了病毒...

    2026-03-16
    47
  • 【洛阳疫情清0,洛阳疫情实时查询】

    洛阳15号会全面解封吗会。洛阳市新冠疫情指挥部发布消息:根据辖区当前疫情情况,经市疫情指挥部专家组综合研判决定:截止9月15日0时起,调整城关街道金瑞龙城A区和杜康大道北段西侧431号—483号两个中风险区为低风险区。至此,洛阳市全域无中...

    2026-03-16
    46
  • 28号疫情表/28号疫情最新数据消息

    11月28日江岸区疫情最新情况11月28日江岸区疫情最新情况如何〖壹〗、月28日江岸区疫情最新情况今天市疫情防控指挥部发布了昨日疫情情况,11月28日0—24时,武汉市新增26例本土确诊病例、334例本土无症状感染者和5例输入性无症状感染...

    2026-03-16
    48